首页 > 安全标准 > 其他标准 > 正文
带电作业用便携式接地和接地短路装置
DL/T879-2004/IEC61230:1993IDT
www. 57365.com www.cchrcc.com    2012年12月19日    来源:

带电作业用便携式接地和接地短路装置

Portable equipment for earthing or earthing and short-circuiting for live working

目次

前言

1 范围

2 规范性引用文件

3 术语和定义

4 电气特性参数

5 要求

6 试验

附录A(规范性附录)  接地和接地短路装置的选择、使用和保养说明书

附录B(规范性附录)  抽样步骤

附录C(规范性附录)  接地操作杆的选择和试验一般规定

附录D(规范性附录)  使用平行连接电缆装置的附加要求和试验

前言

本标准是根据国家经贸委司()电力[2000]70号文《关于下达2000年度电力行业标准制修订计划项目的通知》的任务而编制的。本标准等同采用IEC612301993《带电作业用便携式接地和接地短路装置》。

本标准实施后代替SD332-1989《携带型短路接地线技术标准》。

本标准的附录A、附录B、附录C、附录D为规范性附录。

本标准由中国电力企业联合会提出。

本标准由全国带电作业标准化技术委员会归口和解释。

本标准主要起草单位:武汉高压研究所、辽宁省电力公司、辽阳电业局、宁波天弘电力器具有限公司。

本标准主要起草人:易辉、陶文秋、于长广、刁宝存、伏忠奎、张丽华、胡毅、吕伟宏。

 

带电作业用便携式接地和接地短路装置

1 范围

本标准规定了带电作业用便携式接地和接地短路装置的设计、制造、选择、使用与保养。

本标准适用于已停电的交流输变电与配电系统以及电气设备,220kV500kV输电线路绝缘架空地线上及在试验室和试验设备上临时装设短路接地用

本标准不适用于在直流高压输电设备上所用

2 规范性引用文件

下列文件中的条款通过本标准的引用而成为本标准的条款。凡是注日期的引用文件,其随后所有的修改单(不包括勘误的内容)或修订版均不适用于本标准,然而,鼓励根据本标准达成协议的各方研究是否可使用这些文件的最新版本。凡是不注日期的引用文件,其最新版本适用于本标准。

GB13398 带电作业用空心绝缘管、泡沫填充绝缘管及实心绝缘棒(eqv IEC 608551985IEC612351993)

GB/T14286 带电作业工具设备术语(eqv IEC 607432001)

GB/T16927.1 高电压试验技术第一部分:一般试验要求(eqv IEC 60060-11989)

3 术语和定义

GB/T14286确定的以及下列术语和定义适用于本标准。

3.1 试验

3.1.1

型式试验 type test

按设计要求而进行的一个或多个装置的试验,以确定装置的性能是否与设计相一致。

3.1.2

例行试验 routine test

每个单独的装置在生产中或生产后要进行的试验,用来确定它是否符合标准。

3.1.3

抽样试验 sampling test

从一组成品或半成品中随机抽取一定数量的试品所进行的试验。

3.1.4

验收试验 acceptance test

用来向用户证明,装置达到了说明书所指定情况的契约性试验。

3.2 特殊术语

3.2.1 便携式接地和接地短路装置 portable equipment for earthing and short-circuiting

为了接地或接地及短路目的,用人工将其连接到电气设备上的装置。它包括接地元件,短路元件和一个或多个绝缘元件,如接地操作杆(参见图1、图2和图3)

3.2.2

接地电缆 earthing cable

与有接地系统的短路装置相连接的电缆[参见图la)、图2a)b)和图3]

3.2.3

短路装置 short-circuiting device

为了短路,将导线内部连接的装置(见图1、图2和图3,第2351517)。导线的内部连接可部分通过接地系统而得到[见图2d)]

3.2.4

短路电缆 short-circuiting cable

组成短路装置一部分的电缆(见图1和图2)

3.2.5

短路条 short-circuiting bar

短路装置的一个部件,为条状或管状硬导体(见图3)

3.2.6

接线束 connecting cluster

连接短路电缆的元件,它将电缆直接或通过诸如电缆接线头之类的连接片,彼此相连或与接地电缆或接地端线夹相连[见图1a)、图2a)]

3.2.7

接地端线夹 earth clamp

直接或通过连接片连接在接地电缆、短路电缆或接线束上的线夹。用来与接地系统连接,可以直接连接也可通过固定连接点连接[见图1a)、图2和图3]

3.2.8

线路端线夹 line clamp

直接或通过连接片连接在接地电缆,短路条戚导电棒上的线夹。用来与线路(线路导线,节点或其他传送电流的导体)连接,可以直接连接也可通过固定连接点连接(见图1、图2和图3)

3.2.9

固定连接点 fixed connection point

装置的一部分,特别为线夹的连接(如球形插头、圆柱形螺栓、弓弧、箍圈、接触柱等)安排的[见图la)和图5a)]

3.2.10

绝缘部件 insulating element

为了接地或接地和短路目的,将线路端线夹与部分电气设备相连的手握绝缘部件。

3.2.11

接地操作杆(接地棒)  earthing pole(earthing stick)

连接线路端线夹、短路条或导电延伸棒的绝缘部件。它具有固定或可拆卸的连接器(见图114和图1L[sub]H[/sub]L[sub]1[/sub])

3.2.12

导电延伸棒 conductive extension component

绝缘杆与线路端线夹间的刚性导体,是接地或短路电缆的延伸部分。

3.2.13

额定电流I[sub]r[/sub]与额定时间t[sub]r[/sub] rated current I[sub]r[/sub] and rated time t[sub]r[/sub]

一个装置指定值。用它们来限定电流的最高有效值和对装置无不良影响的最高累积焦耳。这些值仅用于部件设计来耐受短路电流。

3.2.14

峰值电流I[sub]m[/sub] peak current I[sub]m[/sub]

电路最初激励后,瞬变周期的最大电流的峰值。

4 电气特性参数

接地或接地及短路装置的每一个元件都应该能够承受短路电流,这些元件由其额定电流I[sub]r[/sub]与额定时间t[sub]r[/sub]来表征。

额定时间有以下六个标准值:

3s2s1s0.5s0.25s0.1s

I[sub]r[/sub]应根据这六个标准时间中的一个来确定:

I[sub]r3[/sub]I[sub]r2[/sub]I[sub]r1[/sub]I[sub]r0.5[/sub]I[sub]r0.25[/sub]I[sub]r0.1[/sub](kA,有效值)

接地和短路装置的任何部分都不能承受:

——比其额定电流I[sub]r[/sub]大的电流;

——大于的累积焦耳数。

5 要求

5.1 一般要求

接地装置应能够适应电气设备安全接地和短路的要求(见附录A)

当按使用说明书安装装置时,按照设计,装置应该能够承受故障电流所产生的所有应力,而不对人产生任何电气、机械、化学或热学方面的危害。设备在室内使用时,调节适当的温度,即可有利于工作人员的撤离和降低有毒蒸汽的浓度,又可以避免对设备与建筑造成长期损害。

根据一般气候条件,装置的正常使用温度范围在-25℃~+55。另外还有暖(W)和冷(C)这两种特别分类。

分类如下(见表1)

1 特殊的温度分类

对装置的要求与验证装置是否达到要求而所要进行的必要测试,厂家与用户可协商进行,而对设备的任何附加要求及指定试验,用户可在订单中提出。

5.2 接地及短路电缆

用于接地和短路目的的电缆应该满足一些特殊要求,即重量要轻以及在一定温度范围内的柔韧性与高温时的性能。绝缘护层应具备对机械、化学损伤的防护能力。绝缘护层应耐受50V的有效值。当短路时产生较大电动力以及短路电流引起温度升高时,电缆均应满足上述要求。

注:关于护层的颜色,有两种常见的:①亮色,如橘红色或红色,用来增加装置的清晰度,不同的用户可有不同的要求。②透明的,以便于观测导线的受腐蚀情况或表面导线束的损坏迹象,但反复使用后,透明度常会变差。

应选择在使用中能耐受可能遇到的最大电流、最大时间与累积焦耳数的接地及短路电缆。

5.2.1  用于直接接地系统的接地电缆

用于直接接地系统的接地电缆应该与相连的短路电缆或短路条具有相同的横截面。

5.2.2用于非直接接地系统的接地电缆

用于非直接接地系统的接地电缆的横截面可小于相应的短路电缆或短路条,但不能小于表2所示:

2 与短路电缆和戚短路条横截面相关的接地电缆的最小横截面

5.3 短路条

所选择的短路条应能承受使用中可能遇到的最大电流、最大时间与累积焦耳数。

5.4 装置内部的连接

电缆与刚性部分(金属端头等)的连接部位的抗疲劳性能要良好(见附录A)。连接时应非常小心,以确保电缆的最小通流容量。不允许通过焊接进行连接。如果主要的连接物被接在中间部分如电缆接线鼻上,则要防止连接部位松动。如果采用单个的螺钉或螺母,则应将它们直接与弹簧垫圈相连,以防止滑动或转动。

应根据6.26.46.56.6的试验以及通过目视检查来确定是否符合。如果用户与厂家同意对具有铜电缆的装置进行湿度渗透试验,则这一试验应按5.3进行。

5.5 线夹

将线夹暴露在指定大气条件(6.6.3)后,并按说明书(6.6.5与表4)与指定的导线或周定连结点相连时,线夹应具有可靠的接触面并能承受额定故障电流所产生的热应力和机械应力。

机械拉力应不对线夹或连接点(固定连接点或导线)造成破坏。

导线端线夹应使用绝缘杆将其较容易地安装到连接点上,连接点具有用户与厂家达成的共同约定(如尺寸、形状、移动的自由度)。如果没有固定的连接点,在接点处,线夹应与导线的表面与形状相配。

按照6.56.6的试验及目视检查来鉴定符合情况。

5.6 完全接地和短路装置

按说明书连接后,短路装置应能抵抗意外励磁所引起的危险电压与电弧。

装置的所有导线与连接应能承受短路时短时间最大电流所产生的混合热应力与机械应力。

对一个装置来说,通过短路电流的所有电缆都应具有同样的横切面。

装置的绝缘部分性能应良好,以确保装置各部分间的或这些部分与周围结构间的短时间的接触不会产生电弧。电缆的绝缘处理见5.2。至于接线束和导电延伸棒的绝缘要求,应从短时间接触的危险性来考虑。

应通过6.6的测试与目视检查来鉴定符合情况。

5.7 绝缘部件

绝缘部件应依据其绝缘性能、绝缘间隔距离、操作手柄和元件质量来保证安全。

无论在其内部还是在外面,接地电缆都不能靠近接地操作杆。

接地操作杆及其附件应能承受负载与各种力所产生的弯曲或扭转应力。应将偏转减至最小,以避免产生难以控制的偏移。

附录A与附录C给出了接地操作杆的选择原则及试验规定。

接地操作杆与导线端线夹或导电延伸棒(见图114)或短路条间的可拆卸式联轴节,应允许在拉力或压力不超过100N的情况下,安装与拆卸接地操作杆。如果接地操作杆只能靠推或拉来拆卸,则释放力不应少于50N

可通过测量来鉴定符合情况。

5.8 标记

5.8.1 一般要求

——标记应清晰明了;

——标记字母高度不应低于3mm

——标记应耐用。

可通过6.7的测试和目视检查来鉴定符合情况。

5.8.2 接地及短路装置上的规定标记

装置标记上至少应有以下内容:

——厂家名称或商标:

——产品的型号或类别;

——横截面积(mm[sup]2[/sup]),材料和每个电缆上间隔1m的双三角形符号:

——生产年份。

5.8.3 商定的短路装置的数据作为给定标记

厂家性能说明中所给的短路装置的数据,在用户与厂家达成协议的情况下,可作为装置上的标记。可在各个部件单独制作标记或者当短路装置与接地电缆有相同的额定功率,可制作公用的标记,如连接束上的标记。

——装置的额定时间t[sub]r[/sub](s)的额定电流I[sub]r[/sub](kA,有效值)I[sub]r[/sub](kA)/t[sub]r[/sub](s)(10kA/0.5s)

——装置其他评估后附加的“1kV”,它可用表6中小于2.5的多个值来测试。

应通过目测来鉴定符合情况。

5.8.4 绝缘部件上的标记

5.9 厂家的使用说明书

不同类型绝缘部件标记的规则有具体的要求,附录C给出了接地操作杆的标记原则。

厂家的使用说明书至少应有如下内容:

——标记的解释和对安装的必要指导;

——维护和检测指南;

——安装与紧固说明;

——扭矩值和可能会松动的辅助紧固零件的保护说明;

——室内使用时额定值的限值;

——温度范围分类;

——装置是否只限于室内使用;

——厂家所指装置的任何附加特性的说明;

——经过6.2中的彻底检查后,厂家是否对装置进行重新装配;

——装置通过短路电流之后必须报废。

应通过目视检测来鉴定符合情况。

6 试验

6.1 一般要求

3给出了相应的试验参考值。在用户与厂家之间可通过协商,增加用户说明书中附加试验的有关要求。

不能采用破坏性试验对部件进行评估。

测试应在5℃~40的温度范围内进行,一般不需要考虑湿度,除非有特殊要求。

除非有特殊要求,电气试验应使用GB/T16927.1中规定的单相交流电。

注:指定了一个宽范围的气候条件是因为可能经常会选择或必须在室外试验。

6.1.1 型式试验

如果设计有任何变动,应对产品或材料重新进行型式试验。型式试验应在厂家的参与下进行,厂家应对用户保证,表3中的全部型式试验项目已通过。

除非有特殊的要求,这些试验都是在3个试品上分别进行的,只有所有的试品都通过了试验,试验才认为已通过。

6.1.2 抽样试验

抽样试验应在厂家的参与下进行。

厂家应对用户保证,表3中的抽样试验已进行过。如果用户在说明书中提出,用户也可以参加抽样。

抽样试验应按照步骤进行,并与附录B中单个采样方式的标准检查相一致。

3 试验项目及程序

6.1.3 例行试验

产品生产和运输后需要进行例行试验,以确定是否符合指定的要求。在不触及其他协定的情况下,例行试验应由厂方在与用户交付的场所进行。

6.1.4 验收试验

产品向用户交付前,用户可向生产厂提出验收试验的要求。验收试验的项目,除非有特殊说明,表3中的非破坏性例行试验项目可作为验收试验项目。

6.2 有末端配件电缆的疲劳试验

对各种类型末端配件的电缆都应进行弯曲和扭转结合的试验。

试验布置见图7

试品包括一段电缆和末端配件,试品电缆的长度应为1m。末端配件应垂直安装在测试仪器中,以便它在垂线左右60°的摆动接近水平轴线。电缆和末端配件间的接触面离轴线应有100mm。电缆较低的末端应连接在垂直、定向的螺丝钉上并负载5 6Ad g的重量,这里的A是以mm[sup]2[/sup]表示的电缆导线的横切面,d为以g/cm[sup]3[/sup]表示的导线材料的密度。在测试的半个循环内,电缆应在它展开的方向(如果有的话)缠绕90°,然后再返回。一个循环周期至少应有5s1000个循环后,结束试验。

如果试验通过,则应该是:

——电缆表面没有裂缝或褶皱:

——多股绞线的断裂不超过1%

为了检测导线,应去掉电缆的保护外层且不要把导线绕进单个导线束,因为导线的损坏可能会从内部开始。

6.3 有铜电缆装置的湿度渗透试验

当需要对铜电缆装置进行湿度渗透试验时,它应和6.2中的疲劳试验同时进行。疲劳试验后和当试验用的试品仍在疲劳测试仪器中时,应将试品完全渗入溶液中达45min。在这段时间内,测试仪器应分别在两个最高位置和中间仪置各停留15min

为了检测导线,应将外护层去掉。

如果铜导线不变黑,湿度渗透试验通过。

接下来再按照6.2来评估疲劳测试。

湿度渗透测试所用溶液的配制:

湿度渗透测试使用的是硫化钠溶液,配制如下:

600g硫化钠(NaS.9H[sub]2[/sub]O)溶于3L水中,井在40的溶液温度下与过量(至少750g)的硫华一起搅拌6h。将来溶的硫至少沉淀6h,再将溶液过滤。在滤液中加入蒸馏水或浸透的钠,将密度调到1.142g/cm[sup]3[/sup]

使用前,须鉴定湿度渗透测试所用溶液的质量。将一节裸露的铜导线浸入溶液5s或不到5s,导线应变黑。

注:铝电缆装置的湿度渗透测试在探索中。

6.4 带线夹电缆的拉伸试验

应检测电缆与线夹,电缆与连接束以及电缆与导电延伸棒之间所有类型的连接。每个测试部分所用的拉伸力,都应在至少10s的时间内线性增至表4中的值。定值拉伸力应保持30s后再去掉。

4 电缆和连接处的拉伸测量

如果连接没有变松,试验通过。

6.5 线夹试验

对于固定连接点和装置内部连接进行试验,以确定它们是否能承受拉力。

线夹进行试验时,应使用厂家所推荐的连接方法,将线夹与固定连接点和尺寸、形状、表面均己设计好的导线连接起来。所测的线夹的导线的尺寸是某一个范围值时,只测最大和最小的导线即可。如果厂家给出了最小紧周力,则测试所用的力应是最小紧固力的两倍。如果厂家未给最小紧固力,则应采用操作使用时的最大力。

对于能被解开的装置内部连接,测试时应使用所推荐力的两倍。

如果装置或设备的任何部分都未产生变形或无其他可能妨碍其继续使用的损伤,则试验通过。

6.6 短路电流试验

6.6.1 一般要求

短路电流试验是模拟装置在操作中可能遇到的最大应力。短路时装置上的电磁力取决于设备的构造、连接点的位置和电缆设备中与连接点间的距离有关的电缆长度。

应使用两杆测试设备来测试多杆短路装置,单杆测试设备应只用于测试单相系统中的单杆装置和多杆设备的接地电缆。

用理论上最大的机械应力来检测电缆装置是不实际的,因为最大应力只会在极端条件才会产生,而这种条件在操作中是可以避免的。与测试条件不同,并可增大操作时的应力的情况有:

——较不利的电缆长度;

——较不利的导线几何形状;

——较不利的连接点的位置;

——较大的相距离;

——较高的起始温度。

多方面的经验表明,在操作中按附录A挑选装置并使用比额定电流高15%的试验电流,可产生最大应力。以下为在所有试验中(除去在试验中可能重复产生最坏情况的时候)排除任何附加应力的步骤。

6.6.2 试验原则

所有的试验都应按标准步骤进行,采用交流单相电流,频率应为45Hz60Hz

应对连接点间所有通过短路电流的电流路径都进行试验。因此,对于指定的直接接地系统,既要测试其线路到地,也要测试线路到线路。

6.6.3 试验部分

如果多杆装置的各支路的连接不相同,应选择在电流路径、线夹到线夹中,触头数量最多的支路进行试验。以及300mm长的末端这一部分的试验,包括试验中没有电流通过的导线,也包括对试验有影响(例如使用同样的接地固定连接点)的其他支路。

4、图5、图6给出了测试设备的尺寸。导线的长度包括导电延伸棒(如果有的话)的长度,但除非特别指定,否则不包括线夹和连接束的长度。

在试验前就应将线夹调整好,除非厂家和用户在试验报告中有其他详细的规定。用三氟三氯乙烷(CF[sub]2[/sub]ClCFCl[sub]2[/sub])清洗接触表面进行预处理,然后将它们放在空气中干燥15min。再将线夹放在人工气候室调整168h。此后,在试验前可不用清洁线夹与试验设备(导线和固定连接点)相连的部分。

6.6.4 试验设备

4、图5和图6所示为标准测试设备。这些应由连接点和导线组成,这些导线和固定连接点具有已设计好的被测试装置的线夹的尺寸、形状和表面。如果线夹的导线的尺寸是在某一个范围时,用于测试装置的试验设备只需测最大和最小的导线即可。与标准测试设备不相符的装置应使用特殊的测试设备进行试验,这些特殊装置的构造原理要么与标准测试设备相同,要么与设备特殊设计的安装情况尽可能的接近一致。

4指明了连接刚性导线的多杆短路设备的测试设备。底端输入的垂直排列则是最极端的情况。

5中所示的测试设备为测试连接架空线路用的多杆短路装置。

6的测试设备用于测试:

——单相系统中架空线路用的单杆装置。

——用于架空线路的多杆装置的接地电缆。

试验应代表装置可正常使用的情况。基于此,试品应采用使用过的导线材料。如果导线用新铜制造,应将其人工老化10天。

在试验前,要进行清洗、磨光和擦亮。

6.6.5 试验布置

按图4,图5和图6的布置,被试的线夹对线夹支路应连接到适当的测试设备上。

试验中,装置的连接方法应能保证线夹在工作中有防止变松或变形的危险。在线夹通过摩擦力保持位置的地方,至少应固定一个线夹,以便只有摩擦力阻止它顺着表面滑到它连接的位置。所给的值是在考虑到所用的工具与人员手工紧固的情况,表5给出了一些典型工具的最大值。

5 短路电流测试中,适用于螺丝钉拧紧型线夹的最大紧固扭矩

6.6.6 试验值

试验的电流时间和累积焦耳可根据被测装置的指定额定电流I[sub]r[/sub](kA,有效值)和额定时间t[sub]r[/sub](s)来计算。

应确定试验电流I[sub]t[/sub]

I[sub]t[/sub]=1.15×I[sub]r[/sub]用于标准或等效的特殊试验设备;

I[sub]t[/sub]=I[sub]r[/sub]用于可完全再现使用时的极端情况的试验设备。

试验时间t[sub]t[/sub]定义为:从开始到累积焦耳为

 

的时间。

试验应满足:

——试验峰值电流i[sub]tm[/sub]n×I[sub]t[/sub],这里的n可从表6查得;

——累积焦耳≥

 

——测试时间t[sub]t[/sub]1.15t[sub]r[/sub]

——电流有效值≥I[sub]t[/sub],由试验最后时间的峰值一峰值电流值除以

 

得到。

6 峰值电流系数

6.6.7 试验评估和文件

在短路电流试验中,应使用测试前已校准过的示波器来指示电压和电流。用示波器来确定最大电流,积累焦耳和最后试验时间的电流。

试验报告中除试验结果外,还应至少给出:

——明确指出被试装置:

——详述试验布置,如果需要还可用照片或插图来补充:

——有比例的波形图,能显示试验电压和试验电流与时间波形。

如果波形图显示:

——试验过程中无电流中断;

——最大电流值、累积焦耳值和最后测试时间的电流值都与6.6.6相符合;

——在试验中,电压曲线没有显示有电弧存在的不规则形状。

则试验通过。

如果电缆的长度是被测装置长度的2倍,或在短路装置的连接点和被保护的工作位置间有一对应的附加阻抗,则试验结果是有效的。如果在实际运行中,还有更太的附加阻抗,则应由用户来评估试验结果并决定是否要进行附加试验。

6.7 标记的耐久性测试

用一块在肥皂液中浸过的不起毛的布擦洗标记15s,然后再用一块在酒精中浸过的不起毛的布擦洗15s

如果标记仍清晰,则试验通过。

1—接地端线夹;2—线路端线夹;3—短路电缆;4—接地电缆的杆;5—连接束;6—固定接地连接点;7—固定线路连接点;8—接地操作杆的绝缘部分;9—护手或手柄的标记;10—地操作杆的手柄:11—安装导线,12—接地系统;13—杆的端帽; 14—固定的或可拆卸的联轴节;15—杆的接头处,为了运输的方便接头是可拆卸的;16—导电延伸棒

L[sub]1[/sub]—绝缘部分的长度;L[sub]h[/sub]—手柄的长度;L[sub]0[/sub]—接地操作秆和导电延伸棒的总长

a:接地和短路装置包栝1234516

b:接地操作杆包括8910131415

1 便携式接地和接地短路装置的组合图

1—接地端线夹;2—线路端线夹;3—短路电缆;4—接地电缆;5—连接束;11—安装导线:12—接地系统

a:分图a)b)用了短路电缆和接地电缆。

b:分图c)d)只用了短路电缆。

2 三杆接地和短路电缆装置示意图

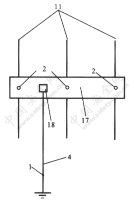
1—接地端线夹;2—线路端线夹;4—接地电缆;11—安装导线;17—短路条;18—接地电缆的连接处

3 具有短路条与接地电缆的三杆接地和短路装置示意图

a)按图曲)试验电缆短路装置所用    b)按图2a)试验电缆短路装置所用  c)按图2c)2d)试验电缆短路装置所用  d)用于试验短路条短路装置

a—杆到杆的距离;

L[sub]1[/sub]—线夹间的电缆长,1000mm

L[sub]2[/sub]—线夹与连接束间的电缆长度,750mm

L[sub]3[/sub]—末端的长度,300mm

L[sub]4[/sub]—线夹间的电缆长,2500mm

1—接地墙线夹(在试验设备中是绝缘的)2—线路端线夹;3—短路电缆;4—接地电缆;5—连接束;17—短路条;19—被试的导线,这种类型测试设备的被试线夹已设计好;20—验电流的输入点

4 试验多杆短路装置与刚性导线连接的试验装量

a—电流输入点和线路端线夹间的距离,最短2000mm

b—试验设备导线间的水平位移,1000mm

c—接地连接点和线路连接点间的水平位移,1000mm

d—厂家说明书所指定的最短距离,如果没有指定,试验所用的出0衄;

h—线路和接地连接点的垂直距离,4000mm

L[sub]1[/sub]—线夹间的电缆长度,2000mm

L[sub]2[/sub]—线路端线夹和接地端线夹间的电缆长度,5000mm)

L[sub]3[/sub]—线路端线夹和连接束间的电缩长度,1500mm

L[sub]4[/sub]—末端的长度,300mm

1—接地端线夹(在试验设备中是绝缘的)2—线路端线夹;3—短路电缆:4—接地电缆;

5—连接束:6—接地的固定连接点(在试验设备中是绝缘的)19—试验设备的连接线,

这种类型铡试设备的被试线夹已设计好;20—试验电流输入点

5 试验架空线路用的多杆短路装置的试验装置

a—线路端线夹和测试电流输入点的距离,最小2000mm

b—线路导线和接地连接点间的垂直距高,4000mm

c—线路和接地连接点的水平位移,1000mm

L[sub]1[/sub]—线路和接地端线夹间短踌电缆的长度,5000mm

L[sub]2[/sub]—短路电缆和连接柬的总长度,1500mm

L[sub]3[/sub]—连接束和接地端线夹间接地电缆的总长度,3500mm

L[sub]4[/sub]—末端的长度,300mm

1—接地端线夹(在试验设备中绝缘)2—线路端线夹:3—短路电埴:4—接地电缆:5—连接束:19—被试的线夹已设定了类型的试验设备连线;20—试验电流输入点

6 试验单相系统中架空线路的单杆装置和试验架空线路的多杆装置的接地电缆用的试验设备

1—振动轴;2—末端附件;3—电缆;4—引导卷轴,自有距离6mm+1mm5—导条,40mm×5mm6—电线;7—负载

7具有弯曲和扭转的疲劳试验装置

 

附录A

(规范性附录)

接地和接地短路装置的选择、使用和保养说明书

A.1 一般要求

将装置的分离部分接地和短路的目的是为了防止意外来电所产生的危险电压和电弧。电弧在工作人员附近发生可能会导致死亡或严重的电击。假定和这一标准相符的接地和短路装置的尺寸、使用时的选择及连接均与说明书相符且保存良好,则使用它们可避免危险的电压和电弧。

为了避免危险电压和电弧,而只承受较小的危险,经验表明,短路装置必须操作方便。因此,可采用最高温度来减少负荷。如果操作者在短路操作后立刻接触装备,在没有衣服的保护的情况下,可能会发生电击,生成有毒和,或腐蚀性物质的绝缘材料,在室内使用时,要受以下的条件的限制:

——全体人员的疏散不会受低的能见度或眼或呼吸的刺激的阻碍;

——短时间的暴露不会产生严重的毒害:

——装置和建筑没有受到长期损害的危险。

A.2 选择

短路装置和接地电缆应能承受在所选的故障时间内电路预期的最大故障电流,包括开始的不对称电位。应明确装置的额定电流不小于故障电流,额定电流与额定时间的累积焦耳不小于故障电流与故障时间。用户选择时,必须决定系统的最大故障电流时间的确定应以主要或备用保护的释放时间为基础。

如果没有有效地阻止关闭短路后的自动再接通,那么必须估计等效的故障时间。室内使用时,可对所选的绝缘材料的温度限定提出特别的要求。

短路电缆的长度应与装置尺寸和连接点间的距离相适应,小于连接点间距1.2倍的电缆长度可能导致比标准试验更严重的情况,因此应避免。过长的短路电缆所需难以接受的电压,并且会产生不必要的严重的偏移。

勿需短路电流试验的接地电缆,应足够长,以防止它们限制短路装置的移动,或对短路力有不良影响。所选的连结点、线夹和绝缘部件在安装位置应容易连接。还要考虑装置的电路元件的重量,以确保工作人员的体力可以将它们连到导线上。正确使用绝缘部件,可保证操作人员的安全隔离。然而,接地操作杆的长度通常不由它的绝缘性质决定,而是由在接地和短路步骤中,保持操作人员与装置的非接地部分有足够的距离所决定的。

A.3 应用

在连接装置时,为避免残余的电压所产生的危险,应首先将它连接到接地系统上,下一步的连接要通过绝缘部件来操作,直到完成装置所有的连接和紧固。

当短路电流通过时,装置可能会产生剧烈的位移。因为由于重量原因导线材料的热导率很高,在短路不久后设备的温度就会很高。因此,应避免设备的位置太靠近人员工作的位置以及避免堵塞逃生通道。尤其当短路电缆较长时,可将电缆捆扎到稳定的物体上。装置的位置与工作地点间的距离远或高阻抗均可增加电压的危险。

A.4 保养和处理

为了保证安全,接地和短路装置每次使用时,都应十分小心谨慎。在每次使用前都应将其彻底检查。如果电缆绝缘的损坏或电缆导线的裸露.则此接地短路装置不得使用。

对于没有外在缺陷且手柄良好的装置,通过6.2中的疲劳试验,一般可保证便携式装置的软导线接头在5年内可靠使用,而固定式装置的软导线接头10年内可靠使用。可根据这一经验对使用周期的长短进行修改,而当这一有效期过后,建议对装置进行破坏性试验,如疲劳试验。而当将裸露的电缆部位截断后,可以进行重新装配。因为电缆的好坏会影响以后使用周期的长短。

应该将曾经通过短路电流的装置弃之不用,除非通过彻底的调查、计算和观察证明装置所通过的短路电流较小且很平缓,以至机械或热的影响均不大。如果对装置的完善及完整情况有任何的怀疑,则应将其处理而不再使用。

 

附录B

(规范性附录)

抽样步骤

抽样、接受和拒收

B.1给出了样品的大小,和所给的成批或批量的接收和拒收的次品的数目,要求如下。

产品单元:             同要求条款中的定义

成批或批量:           流通(或交付,如果用户和厂家达成协议的话)产品系列

接受质量的标准(AQL)  2.5

检测标准:             S4用于成批或批量小于或等于1200

S3用于成批或批量1200以上

B.1 标准检查的单个抽样计划

 

附录C

(规范性附录)

接地操作杆的选择和试验一般规定

GB13398给出了当考虑到偏转、弯曲和扭转等性质时,如何选择绝缘部件:

C.1选择

可由表C.1中确定接地操作杆的基本数据,它由实际应用决定并服从用户和厂家的协议。

C.1 接地操作杆的基本数据

如果具有与上表不相符的要求,用户可与厂家另订特殊协议。

C.2抗弯试验

抗弯试验应在三个完整接地操作杆上进行,如果一个杆由几个部分组成.应在试验前就将其组装起来,尽可能组装成最大长度的杆,一般杆的试验长度不超过5m

应按图C.1将试品水平固定。操作杆的手柄部分末端固定在摆动支架上,杆的中间部分由一半圆柱形水平表面自由式支撑着。这一半圆柱形表面是一个覆盖着氯丁橡胶或相似材料的槽,材料的坚固程度为4050IRHD(国际橡胶硬度水准),厚度为6mm,图C.1给出了支架的尺寸。

当使用表C.1所示的抗弯力时,应将每个试品的向下偏转都确定并记录下来。

如果偏转量不超过表中所给的值,试验通过。

接着将弯曲力增加至表中所给值的150%,并保持30s

如果没有任何异常,则试验通过。

C.3 扭力试验

试验的试品具有三个联轴节的完整杆。在测试中不应对操作杆旌加弯曲力。将操作杆其中一个末端的联轴节保持在固定位置,对另外一端施加1min40Nm的扭矩,测出扭曲角度。然后在反方向施加扭矩,重复试验。

如果两个测试角度总差不超过杆长的25°/m,则试验通过。

C.4 标记

每个接地操作杆上至少有如下内容:

——制造厂名和商标;

——型号;

——生产日期(一般是年,也可以标注到生产月份)

——便携式接地和接地短路装置生产所依据的标准号。

标记的位置不应影响杆的使用。如果标签可更换,更换时对正常使用应无影响可按表6.7来鉴定标记的耐久性。

C.1 接地操作杆弯曲试验的布置

 

附录D

(规范性附录)

使用平行连接电缆装置的附加要求和试验

D.1 要求

平行连接的短路或接地电缆应相同并有适当的电流分配。

为得到适当的电流分配,平行相连电缆的以下内容应是相同的:

——型号(大小、铰合、材料)

——长度:

——与线夹的连接:

——与连接柬的连接(如果有的话)

平行电缆各个末端的线夹应完好。如果并列使用两个或更多的线夹,应确保它们是同一类型,并且是以确保正确的电流分配的方式紧密相连的。任何的不稳定因素,可通过选用电流额定值高的电缆来弥补。多杆装置只有一个连接束[见图D.1b),图D.2c)和图D.3b)]

D.2 试验

应按图D.1,图D.2和图D.3来准备测试设备。

当每个电缆只用一个线夹时,试验时应将线夹尽可能连接紧密。

c—电流输入点和线路端线夹间的距离,最小1000m[D.1a)b)c)]

d—线路端线夹和接地端线夹间的垂直距离,2000m[D.1c)

L[sub]1[/sub]—线路端线夹间的电缆长度,1000mm

L[sub]2[/sub]—线路端线夹与连接束间的电缆长度,750mm

L[sub]3[/sub]—末端的长度,300mm

L[sub]4[/sub]—线路端线夹与接地端线夹之间的电缆长度,2500mm

1—接地端线夹(在测试设备中是绝缘的)2—线路端线夹;3—短路电缆;4—接地电缆;5—连接束;19—测试设备的连接导线,这种类型的测试设备被测的线夹已设计好;20—测试电流输入点

D.1 测试多杆短路装置的测试设备(这种多杆短路装置在刚性导线间连接有平行的电缆)

a—电流输入点和线路端线夹间的距离,最小2000mm

b—测试设备导线间的水平位移,1000mm

e—厂家说明书中指定的最小距离,如果厂家未指定,

f—接地连接点与线路连接点闻的水平位移,1000mm

h一线路和接地连接点同的垂直距高,4000mm

L[sub]1[/sub]—线路端线夹和接地竭线夹同的电缆长度,5000mm

L[sub]2[/sub]—线路端线夹间的电缆长度,2000mm

[sub]3[/sub]—线路端线夹与连接束间的电缆长度,1500mm

L[sub]4[/sub]—末端的长度,300mm

设备的连接导线,这种类型测试设备要测的线夹已设计好;20—测试电流输入点

1—接地端线夹(在测试设备中是绝缘的)2—线路端线夹;3—短路电缆;4—接地电缆;5—连接束;19—测试

D.2 测试多杆短路装置的测试设备(这种多杆短路装置有连接在架空线路的导线间的平行电缆)

a—电流输入点与线路端线夹间的距离,最小2000mm

b—线路端线夹与接地端线夹间的垂直位移,4000mm

c—接地连接点与线路连接点间的水平位移,1000mm

L[sub]1[/sub]—线路端线夹与接地端线夹间的电缆长,5000mm

L[sub]2[/sub]—短路电缆与连接束的总长,1500mm

L[sub]3[/sub]—末端的长度,300mm

L[sub]4[/sub]—连接束与接地端线夹间接地电缆的长度,3500mm

1—接地端线夹(在测试设备中是绝缘的)2—线路端线夹;3—短路电缆;4—接地电缩;5—连接柬;19—测试设备的连接导线,这种类型测试设备被测的线夹已设计好;20—测试电流输入点

D.3 测试接地和短路装置的测试设备及所使用的平行连接电缆

【发布日期】20040309

【实施日期】20040601

 

责任编辑: 田心
 相关链接